网站服务器和空间被入侵,让人都很纠结这种事情,自己辛辛苦苦的运行半年的网站结果被人挂马,导致网站在很多时间内收录大面积的无关内容。轻则网站排名下降,重则直接被搜索引擎K站。本人就遇到过这种事情,辛辛苦苦做的两个月网站,权重和排名都做的不错,权重做到2。可是被人挂马之后,导致我的网站瞬间在搜索引擎排名全无。原本运营地区性论坛,被挂马之后收录的信息。如图所示

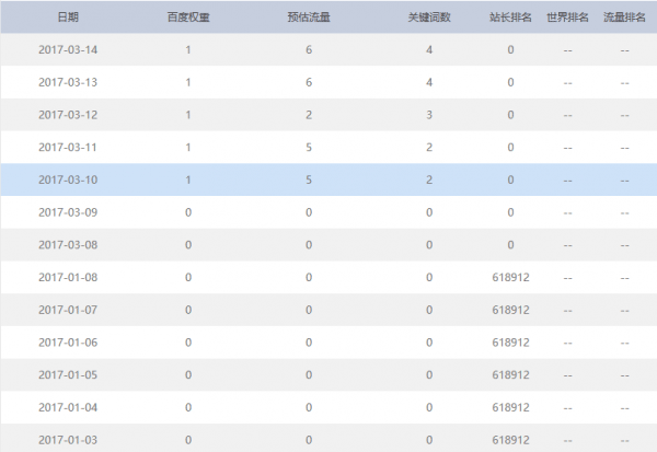
导致后果就是网站和流量全无,如图所示

这样本人这次做的网站被挂马之后有多惨,足足三个多月在搜索引擎无法过的流量。我们说说网站被挂马之后如何处理这种事情。
首先遇到这种情况,千万不要生气,解决问题才是王道。
1.第一步打开网站被黑链接,看看地址栏链接中以何种形式呈现。本人根据网站链接最终锁定是网站被注入PHP文件,生成HTML链接。找到根源之后,就要及时把服务器和空间被注入的PHP删除掉。下面就不用我在一一介绍,相信每位站长都对自己网站的文件了如指掌,只需要锁定文件,删除多余文件就行。

2.第二步查看本人网站是否存在服务器安全性问题,这里本人不得不多嘴,本人在网站安全性方面由于之前疏忽导致网站在修改权限上面默认允许状态(本人使用window2003服务器)。我也在这里告诫大家网站服务器要做好安全工作,否则后悔莫及。
3.第三步运用第三方软件扫描网站是否存在漏洞,如果存在就要及时的修补,还就是尽量少用网上的模板,最终自己根据开源CMS自己制作模板,这样网站也可以减少很多问题。对于织梦网站来说,就要及时修复织梦漏洞。
4.第四步就是网站删除被挂马搜录的链接,及时反馈到搜索引擎,把链接整理出来以死链接的形式提交,这样做的目的就是把网站损失减少到最小。
5.第五步做好定期检查工作,出现异常问题,及时解决,网站数据做好备份。
网站被挂马问题,千万不要抱怨,俗话说吃一堑长一智,以后在做网站的时候,这些问题都可以在运营之前及时解决掉。濮阳网站建设:http://www.xianshengdz.com/原创文字!
相关文章:
